Ethan Allen's Patent 46617

March 7th, 1865

  • Key Idea

    A link-connected extractor mechanism actuated by the movement of the pivoting barrel, enabling automatic ejection of the spent cartridge during opening.

  • Patent claim

    Allen claims the combination of a link positioned in front of the barrel’s pivot with a sliding discharger (extractor), so that opening the barrel actuates cartridge extraction as described.

UNITED STATES PATENT OFFICE.

ETHAN ALLEN, OF WORCESTER, MASSACHUSETTS.

IMPROVEMENT IN CARTRIDGE-RETRACTORS FOR BREECH-LOADING FIRE-ARMS.

Specification forming part of Letters Patent No. 46,617, dated March 7, 1865.

To all whom it may concern:

Be it known that I, ETHAN ALLEN, of Worcester, in the county of Worcester, in the State of Massachusetts, have invented a new and Improved Mode of Constructing Fire-Arms; and I do hereby declare that the following is a full and exact description thereof, reference being had to the accompanying drawings, and to the letters of reference marked thereon, in which—

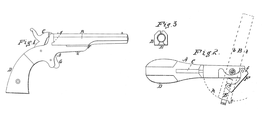
Figure 1 is an elevation of a single cartridge-loading pistol. Fig. 2 is a vertical or top view of same. Fig. 3 is an end view of the barrel.

The nature of my invention consists in so arranging a link in connection with the cartridge-discharger and the frame of the pistol that by turning the barrel from its bed it acts upon the discharger and throws the exploded cartridge-shell from the barrel.

To enable others skilled in the art to make and use my invention, I will proceed to describe its construction and operation.

This pistol is designed to shoot metallic cartridges of ordinary construction, having a rim around the base which contains the detonating powder, and also serves as a fulcrum for the discharger to act upon.

The barrel B is hung in frame A, as seen in the drawings, by set-screw a, and turns off for the purpose of discharging the exploded cartridge and receiving another charge.

The discharger E slides back and forth in a dovetailed groove on the under side of barrel B, as seen in Figs. 2 and 3, being attached to link F by pin e, and the opposite end of link F is attached to the front end of the frame A by pin f.

There is a projection, g, on the lower side of the rear end of barrel B, and a corresponding recess in frame A, which holds the barrel firmly while in position to be discharged.

To load the pistol, the barrel B is swung off from frame A sufficient to expose the rear end of said barrel, and the cartridge is inserted when the barrel is swung back and discharged in the ordinary manner.

The barrel is now swung off again, as indicated by dotted line h, Fig. 2, and the barrel B, being in position shown by dotted lines b b, carries the discharger out, as seen in Fig. 2, which discharges the exploded cartridge or leaves it in position to be easily removed by the fingers.

The arm is now reloaded, and the operation is repeated.

Parts not shown or described being similar to those in ordinary use, a further description is not deemed necessary.

What I claim as my invention, and desire to secure by Letters Patent, is—

Link F, hung in front of the center of action of barrel B, in combination with discharger E, substantially as described.

ETHAN ALLEN.

Witnesses:
SULLIVAN FOREHAND,
GEO. W. FAIRFIELD.