Ethan Allen's Patent 47688

March 16th, 1865

  • Key Idea

    A reloadable, cartridge offering consistent performance and long service life having a specially structured base and internal grooves, improving primer support, preventing gas leakage, and stabilizing the charge for safer and more reliable ignition.

  • Patent claim

    Allen claims: (1) A cartridge base with an opening and internal flange combined with a grooved structure to securely support the primer and ensure proper ignition. (2) A cartridge constructed with a base having three flanges, combined with the shell, as described.

Note: This cartridge was typically designed for use in Allen’s Hinged breech double barrel shotgun. See patent 49491.

UNITED STATES PATENT OFFICE.

ETHAN ALLEN, OF WORCESTER, MASSACHUSETTS.

IMPROVEMENT IN METALLIC CARTRIDGES.

Specification forming part of Letters Patent No. 47,688, dated May 16, 1865.

To all whom it may concern:

Be it known that I, ETHAN ALLEN, of the city and county of Worcester and State of Massachusetts, have invented certain new and useful Improvements in Metallic Cartridge Shells; and I do hereby declare that the following is a full, clear, and exact description of the same, reference being had to the accompanying drawings, in which—

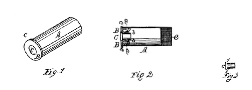
Figure 1 represents a perspective view of my improved metallic shell; Fig. 2 represents a longitudinal section of the shell, and Fig. 3 represents a longitudinal section of the cap employed to explode the charge.

To enable those skilled in the art to which my invention belongs to make, construct, and use the same, I will proceed to describe my improved metallic shell.

In the drawings, A represents the front part of the shell, which may be made of brass or other suitable metal. The front inner surface of the part A is provided with a series of parallel grooves, e, for a purpose hereafter to be described. In lieu of parallel grooves a screw-thread may be used, or the surface roughened in any proper and suitable manner.

B is the base of the shell, made of steel or any other proper metal. It has an outer flange, a, to receive the case part A, as fully indicated in the drawings. The parts A and B are made to fit closely, and, after being placed in position, are brazed or otherwise securely united together.

The base B is provided with an inner flange or short tube, b, into which the cap C is placed, as indicated in the drawings. The space between the flange or short tube b and outer flange a is of concave form, as indicated at D D.

The base B is provided with a further flange, c, similar to what is used in the common metallic-shell cartridge, and which fits into a groove or recess in the rear of the barrel.

The rear of the base B is concaved or grooved out, so that when the cap C is inserted its flange will rest against a shoulder or ledge on the base B, the rear of the cap and the rear of the base being flush, all as clearly indicated in the drawings.

To load my shell, the cap is inserted in the rear of the base; the proper charge of powder is then put into the case A and covered with a wad; then the shot or ball inserted and a wad on top of that, the last-named wad occupying a position so as to be in contact with the grooved or roughened surface of the case A.

The loaded shell is then placed in the rear of the barrel in the ordinary manner. The charge is fired by exploding the cap C, which is effected by forcing a rod or piston against the rear of the cap, thereby exploding the fulminating-powder contained in the flange f of the cap C, as indicated in Fig. 3. As the flange of the cap rests firmly against the groove or shoulder in the rear of the base B, it is always sure to be exploded by the blow of the hammer against the rod or piston.

After the charge has been fired, the shell is withdrawn and the cap removed or pushed out, which can be easily effected by the use of a small punch or pin, which is to be inserted into the cap, from the front of the case A. The shell is again to be loaded and fired and the operation repeated, the shell remaining comparatively uninjured.

As heretofore used, the charge contained in metallic cartridge-shells has been liable to start forward by the sudden jarring of the muzzle upon the ground, or otherwise when down, but all such danger and liability is obviated by the grooved or roughened surface e of the shell, since the least force tending to start the charge forward will cause the wad to bind in the case, it being held by the grooved or roughened surface e.

Then again, as respects the firing or burning of the powder, it is attained in my shell in a most perfect manner, since the fire is first communicated to the powder near the shot or ball and burns back.

Still another advantage resulting from the peculiar construction of my improved cartridge-shell, consists in starting the ball by the ignition of a small quantity of powder, that contained in the cap, thus lessening the danger of explosions.

In case caps are used which are a little loose, by placing the shell, after the cap has been inserted, upon some firm substance, the cap can be tightened by means of a convex plunger inserted into the mouth of the cap, whereby the edges of the cap are forced out against, and, if necessary, a little over the flange b.

The explosion of the powder in the cap C causes the case of the cap to expand against the flange or tube b, thereby preventing all escape of gas.

Having described my improved metallic cartridge-shell, what I claim as my invention, and desire to secure by Letters Patent, is—

What I claim as my invention, and desire to secure by Letters Patent, is—

  1. Making the base of the cartridge-shell with an opening and a flange, b, in combination with grooving out the base B, whereby the body of the cap, as well as the flange which contains the fulminating-powder, are well supported and a sure explosion insured, substantially as described.
  2. The combination with the case A of a base, B, provided with three flanges, a, b, and c.

ETHAN ALLEN.

Witnesses:
THOS. H. DODGE,
H. L. FULLER.